
TEORÍA DE ARMAMENTO PARA VIGILANTES
ARMAMENTO Y TIRO
BALÍSTICA
Se denomina balística a la ciencia perteneciente a la rama de la física que estudia el comportamiento de los proyectiles.
Se divide en:
– Balística interior:
Es aquella que se ocupa del movimiento y efectos del proyectil en el interior del cañón del arma.
– Balística exterior:
Es la que se ocupa del proyectil durante su recorrido por el aire.
– Balística de efectos:
Es la que estudia las incidencias del proyectil en el blanco y sus efectos.
IDEA GENERAL DEL FENÓMENO DEL TIRO
Al apretar el disparador, el martillo retrocede y vuelve hacia adelante impulsado por la acción de su muelle golpeando la aguja percutora.
La citada aguja venciendo la acción de su muelle golpea sobre la cápsula iniciadora que al golpear sobre el yunque, se inflama y ocurre:
** Que por los “oídos” se comunica el fuego a la pólvora.
** Esta se inflama y produce unos gases.
** Estos gases ejercen una fuerte presión en todos los sentidos y encuentran:
Lateralmente, las paredes de la vaina y la recamara. Posteriormente , el culote de la vaina que es la parte de mayor espesor de la misma y en otro tipo de armas el cierre. Anteriormente , el proyectil que esta engolletado a la vaina y es la parte que ofrece menor resistencia, al expansionarse los gases obligan a este a desplazarse por lo que:
* Se desengarza del gollete de la vaina.
* Toma las estrías del anima del cañón (rotación).
* Es proyectado hacia el exterior del anima (traslación).
* Cuando el arma se encuentra descalibrada se produce un nuevo movimiento
(balanceo o saludo).
ARMAMENTO Y TIRO
FUERZAS QUE OBRAN SOBRE EL PROYECTIL: El proyectil se mueve bajo la acción de tres fuerzas distintas:
Proyección, que lo impulsa hacia adelante y que es originada por la expansión de los gases al combustionarse la carga.
Gravedad, Es aquella en virtud de la cual, todo cuerpo suspendido en el espacio, tiende a caer hacia el centro de la tierra.
Resistencia del aire , Es la oposición que ejercen las distintas capas de aire al ser atravesadas por el proyectil.
Como resultado de estas tres fuerzas, el proyectil recorre un camino sensiblemente curvo.
DISPERSIÓN: Debido a las fuerzas que obran sobre el proyectil y a unas causas determinantes, existe un fenómeno llamado Dispersión, en virtud del cual se esparcen en una determinada superficie los impactos producidos por una misma arma y disparados en idénticas condiciones y circunstancias.
Ejemplo: Si se coloca un arma sobre un ajuste rígido, completamente fija y apuntada perfectamente a un blanco, podrá observarse que los impactos sobre el blanco no coinciden, pues cada proyectil producirá un impacto separado de los demás. A este fenómeno se le denomina Dispersión de tiro.
CAUSAS DE LA DISPERSIÓN: Las causas que producen la dispersión, pueden ser debidas:
Al proyectil, variación de la cantidad y calidad de pólvora y variación del peso,diámetro y forma del proyectil.
Al arma, Diferencia de temperaturas en la recamara tras sucesivos disparos.
Ensuciamiento progresivo del anima del cañón por la incompleta combustión de la pólvora.
Al Tirador, Mala posición al efectuar el disparo, estado bajo de moral, Fatiga, falta de instrucción, etc.
A los agentes atmosféricos, Bajas temperaturas, Presión Atmosférica, Dirección y velocidad del viento, Irregularidades de la luz, etc.
DEFINICIONES Y NOTACIONES FUNDAMENTALES
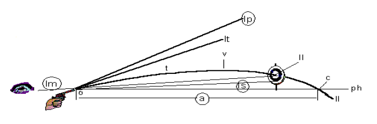
TRAYECTORIA:
Es la línea imaginaria que describe el centro de gravedad del proyectil durante surecorrido . En ella se puede distinguir:
* Origen de la Trayectoria:(o) Es la boca del arma en el momento del disparo.
* Vértice de la trayectoria:(v) Es el punto más elevado de la trayectoria.
* Rama ascendente : Es la trayectoria desde la boca del arma al vértice.
* Rama descendente : Es la trayectoria desde el vértice hasta el punto de llegada.
* Punto de llegada:(ll) Es el punto en el cual la rama descendente de la trayectoria encuentra el blanco o el terreno.
* Punto de caída:(c) Es el punto de la trayectoria en el cual la rama descendente encuentra el horizonte del arma.
HORIZONTE DEL ARMA ( p h )
Es el plano horizontal que pasa por el origen de la trayectoria.
LÍNEA HORIZONTAL ( l h )
Es la línea que une el origen de la trayectoria con el punto de caída.
LÍNEA DE TIRO ( l t )
Es la prolongación indefinida del eje del arma dispuesta para el disparo.
PLANO DE TIRO
Es el plano vertical que contiene a la línea de tiro.
LÍNEA DE MIRA ( l m )
Es la línea que une el ojo con el blanco, pasando por los mecanismos de puntería del arma, o la definida por el eje óptico del mecanismo de puntería.
LÍNEA DE SITUACIÓN ( l s )
Es la línea que une el origen de la trayectoria con el punto del blanco que vamos a batir.
LÍNEA DE PROYECCIÓN ( l p )
Es la tangente a la trayectoria en el origen. No coincide generalmente con la de tiro, pues al salir el proyectil del anima del cañón, el arma ha tomado una posición distinta de la que tenia antes del disparo.
ALCANCE ( a )
Es la distancia horizontal entre el origen y el punto de caída.
DURACIÓN
Es el tiempo que tarda un proyectil en recorrer la trayectoria.
ÁNGULO DE TIRO ( a t )
Es el formado por la línea de tiro y el horizonte del arma.
ÁNGULO DE MIRA ( a m )
Es el formado por la línea de tiro y la línea de mira.
ÁNGULO DE PROYECCIÓN ( a p )
Es el formado por la línea de proyección y el horizonte del arma.
ÁNGULO DE ELEVACIÓN ( a e )
Es el ángulo formado por la línea de tiro y la líneas de situación .
ÁNGULO DE SITUACIÓN ( a s )
Es el ángulo formado por la línea de situación y el horizonte del arma.
ÁNGULO DE VIBRACIÓN ( a v )
Es el formado por la línea de tiro y la línea de proyección Puede ser:
Positivo: si la línea de proyección se encuentra por encima de la de tiro
Negativo: si se encuentra por debajo.
ÁNGULO DE CAÍDA ( a c )
Es el formado por la tangente a la trayectoria en el punto de caída con el horizonte del arma
ÁNGULO DE LLEGADA O INCIDENCIA ( a i )
Es el ángulo formado por la tangente a la trayectoria en el punto de llegada con la superficie del terreno o plano.
ÁNGULO DE ARRIBADA ( a a )
Es el formado por la tangente a la trayectoria en el punto de llegada con la línea de situación.
ORDENADA ( o )
Se llama ordenada a la vertical trazada desde un punto cualquiera de la trayectoria hasta su encuentro con el horizonte del arma.
ORDENADA MÁXIMA ( o m )
Es la ordenada correspondiente al vértice de la trayectoria.
ABSCISA ( a b )
Es la distancia existente entre el origen de la trayectoria y el pie de la ordenada. Cada ordenada tiene su abscisa.
ZONA RASADA ( r )
Es aquella por la que no puede pasar un blanco sin ser alcanzado por la trayectoria que se considere.
ZONA DESENFILADA ( d )
Es aquella en la que el blanco esta a cubierto de los proyectiles por un obstáculo cualquiera
FLECHA O ALTURA DE TIRO ( f )
Es la mayor perpendicular trazada desde la trayectoria hasta la línea de situación. Coincide con el vértice de la trayectoria.
TERRENO BATIDO ( b )
Es aquel donde se baten todos los proyectiles de un agrupamiento.
TERRENO PELIGROSO
Es la suma del terreno batido y la zona rasada por la trayectoria inferior o mas corta
de un agrupamiento ( r + r + b ).
TERRENO TOTAL PELIGROSO
Es la suma del terreno Peligroso y la zona de rebotes, (r+b+zr).
VULNERABILIDAD
Es la mayor o menor probabilidad que tiene un blanco de ser alcanzado por los proyectiles. Se expresa en tanto por cien.
TENSIÓN DE LA TRAYECTORIA
Es el mayor o menor grado de curvatura de la trayectoria. Será tanto mayor cuanto menor sea la flecha o altura de tiro a igualdad de alcances. Es mas tensa cuanto mas se aproxime la trayectoria a la línea recta (ángulo de caída menor de 20º).
VELOCIDAD INICIAL DEL PROYECTIL
Es la velocidad de traslación en el origen de la trayectoria, se expresa en metros por segundo.
VELOCIDAD REMANENTE
Es la velocidad que conserva en cualquier punto de la trayectoria.
IMPACTO
Es el punto de choque del proyectil sobre el blanco o terreno.
ROSA DE TIRO
Es el agrupamiento formado por mas de cien impactos.
AGRUPAMIENTO
Es el conjunto de impactos obtenidos en un blanco con un arma que dispara contra el con los mismos elementos de tiro, la misma arma, el mismo tirador, la misma munición e incluso la misma postura. Al centro del agrupamiento se le denomina centro de impactos. Normalmente el agrupamiento adopta la forma de elipse, cuyo eje menor esta en sentido de la anchura del blanco.
* Agrupamiento Vertical: Es el agrupamiento producido sobre un blanco situado verticalmente (ver.)
* Agrupamiento Horizontal: Se le llama al formado sobre un blanco situado horizontalmente ( hor. )
* Haz de Trayectorias: Se le llama al conjunto de trayectorias que producen un agrupamiento ( h.t. )
* Trayectoria media o tabular: Es la que coincide con el eje del haz o la que define el centro de un agrupamiento ( t.m. )
TIRO DE INSTRUCCIÓN
El tiro de instrucción se divide en dos periodos: Instrucción Preparatoria y Instrucción de Puntería.
INSTRUCCIÓN PREPARATORIA
Tiene por objeto enseñar cuanto es indispensable conocer para producir un disparo sobre un objetivo determinado en las mejores condiciones posibles. Por tanto será preciso que el tirador antes de llegar a disparar un arma, posea un conocimiento completo de ella, de sus mecanismos y funcionamiento, así como de las municiones. Que sepa en que consiste el fenómeno del tiro y haya adquirido como complemento la destreza física necesaria y automatismo en la ejecución de las acciones simples que requiere la ejecución del disparo.
Estas comprenden:
☞ Alimentar el Arma: Un arma esta alimentada cuando su deposito contiene algún cartucho.
☞ Cargar: Un arma esta cargada cuando tiene algún cartucho en la recamara.
☞ Montar: El arma esta montada cuando además de cargada esta en disposición de hacer fuego
☞ Encarar: Es la acción que consiste en colocar el arma en disposición de apuntarla.
☞ Apuntar: Consiste en llevar rápidamente la línea de mira al punto concreto del blanco que se desea batir.
☞ Disparar: Es la operación que consiste en presionar el dedo sobre el disparador para hacer fuego.
☞ Arma vacía: Un arma esta vacía cuando no tiene cartuchos en el deposito.
☞ Arma Descargada: Un arma se encuentra descargada cuando no tiene cartuchos en la recamara.
☞ Arma Desmontada: Un arma se dice que esta desmontada cuando su
mecanismo de disparo no se encuentra en disposición de efectuarlo.
INSTRUCCIÓN DE PUNTERÍA
COMPRENDE LOS EJERCICIOS DE:
☞ Tomar la línea de mira: Consiste en lograr que la visual que parte del ojo del tirador pase precisamente por el punto medio de la base de la muesca del alza y por el vértice del punto de mira.
☞ Llevar la línea de mira al blanco: Consiste en que una vez tomada la línea de mira, mover el arma hasta conseguir que el blanco coincida con el vértice del punto de mira.
☞ Clases de punterías: Son varios los errores de una puntería, ya que esta puede ser: Alta, baja, a la izquierda o derecha, según las distintas posiciones en que el punto de mira quede con relación a la muesca del alza. En una buena puntería debe quedar el punto de mira centrado con la muesca del alza y rasante por la parte superior o vértice.
MODALIDADES DE TIRO
En un revolver se pueden efectuar dos modalidades de tiro:
☞ Tiro en simple acción (Tiro de precisión): para efectuar el tiro en simple acción, hay que accionar el martillo hasta su posición mas retrasada antes de efectuar cada disparo, presionando con el dedo pulgar una vez empuñada el arma. Con este tipo de tiro se consiguen mejores resultados .
☞ Tiro en doble acción (tiro instintivo): Estando el martillo del revolver abatido, se hace presión sobre el disparador llevándolo hacia atrás. De esta forma, el martillo se levanta y en el cilindro gira colocando un cartucho en posición de percusión. Continuamos presionando el disparador hasta el fin de su recorrido, el martillo caerá sobre la aguja percutora que incidirá sobre la cápsula iniciadora produciéndose el disparo.
TIRO INSTINTIVO
Se denomina tiro Instintivo, a aquella técnica indicada para batir objetivos que aparecen inesperadamente a corta distancia sin utilizar los elementos de puntería del arma ni las posiciones clásicas de tiro normal.
El Tiro instintivo, se basa en el aprovechamiento de la información que nos llega a través de los sentidos .
Una vez visualizado el blanco, no apartaremos la vista de el , y encararemos el arma como si lo señaláramos con el cañón .
El tirador debe de acostumbrarse a encajar bien la empuñadura del arma en su mano, manteniéndola con firmeza y con el dedo índice apoyado en el gatillo pero sin hacer presión alguna.
REGLAS DE SEGURIDAD EN EL MANEJO DE ARMAS CORTAS
Las normas básicas (enunciativas nunca limitativas) que el Aspirante debe conocer y aprender para el manejo del arma son las siguientes:
1ª Partir del principio de que no existen armas descargadas, manejar siempre cualquier arma como si estuviese cargada y dispuesta para hacer fuego.
2ª No debe apuntarse a nada ni a nadie si no es que se desea dispararle realmente.
3ª No hay que disparar mas que sobre blancos muy concretos. En galería, solo tirar cuando se de la orden e incluso cargar solo cuando se ordene.
4ª En cada interrupción el arma debe de ser descargada.
5ª Después de desenfundar, el dedo índice no debe colocarse sobre el gatillo, mas que cuando el arma esta dirigida hacia el blanco.
6ª Todas las manipulaciones del arma deben de realizarse con la misma dirigida siempre hacia el blanco .
7ª No hay que volverse jamas con el arma en la mano, una vez finalizado el tiro puede quedar el arma cargada.
8ª El tirador debe darse cuenta inmediatamente de las eventuales dificultades de funcionamiento de su arma.
9ª No se ha de entregar ni recibir jamas un arma sin comprobar primero si esta descargada. El revolver se entregara con el tambor vacío basculado.
10ª Cuando se dispare con ambas manos un revolver, el índice izquierdo no deberá colocarse al costado del cañón cerca del tambor pues se escapan gases muy calientes.
11ª Las armas no se deben dejar al alcance de nadie.
12ª Verificar las armas siempre. No suponga ni crea nada.
13ª El cuidado y la limpieza debe ser frecuente.
14ª No jugar con las armas.
15ª Nunca tire el arma contra el suelo, una mesa, la cama, etc.
16ª No abandone nunca su arma, puede ser utilizada contra usted mismo.
¡ Recuerde, que los accidentes son siempre consecuencia de negligencias, las armas no las carga el diablo !.
Fuente: Armamento y Vigilantes


















